LITAI MACHINERY
Jul 22 2022
LITAI MACHINERY
Avtomatik plastik stakan termoformlash mashinasi nima ? Xo'sh, bu sohada yangi bo'lgan har bir kishi so'raydigan savol. Oddiy qilib aytganda, bu plastik stakanlarni ishlab chiqarish uchun mashina. Ammo biz duch kelishimiz mumkin bo'lgan boshqa savollar ham bor. Ushbu maqolada, Litai, avtomatik plastik stakan termoformlash mashinasi yetkazib beruvchisi , ushbu mashinani aniq tushunishga imkon beradigan avtomatik plastik stakan termoformlash mashinasi savollariga e'tibor qaratadi. Bundan tashqari, ushbu maqolaning oxirida Litai avtomatik plastik stakan termoformlash mashinasi taqdim etiladi, siz ushbu mashina bilan tanishish uchun tegishli mahsulot sahifasiga o'tish uchun shu yerni bosing . Yuk tashish va sotishdan keyingi xizmat ko'rsatish tafsilotlari haqida ko'proq bilmoqchi bo'lsangiz, biz bilan bevosita bog'lanish mamnuniyat bilan qabul qilinadi.
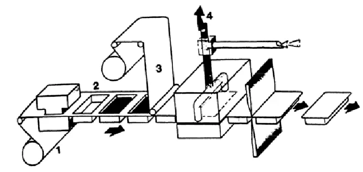
Avtomatik plastik stakan termoformlash mashinasi (shuningdek, tekis vulkanizatsiya mashinasi, kauchuk vulkanizatsiya mashinasi, kichik planshet pressi, avtomatik planshet pressi sifatida ham tanilgan) PVX, masterbatch va boshqa kimyoviy xom ashyo kabi kauchuk va plastmassa sanoatidagi polimerlar uchun mos bo'lgan bir xil kalıplama mashinasidir. Plastmassa yoki kauchuk xom ashyo qolipga joylashtiriladi, yuqori va pastki elektr isitish plitalari orasiga qo'yiladi va xom ashyo shaklini yaratish uchun elektr isitish plitasining aqlli doimiy harorati ostida bosim qo'llaniladi.

Plastik suv stakanlari uchun tez-tez ishlatiladigan materiallar kosmik shisha va AS plastikdir. Kompyuter muhandislik plastmassalari sifatida ham tanilgan kosmik shisha butun dunyoda keng qo'llaniladigan materialdir va uning asosiy komponenti polikarbonatdir. Yengil va bardoshli, bu material mukammal izolyatsiya, cho'zilish, o'lchov barqarorligi, kimyoviy qarshilik va yuqori quvvat, issiqlik va sovuqqa chidamliligiga ega. Bundan tashqari, u o'z-o'zini o'chirish, olovni ushlab turish, toksik bo'lmagan va rangli bo'lishining afzalliklariga ega. Kamchilik shundaki, uning qattiqligi metallga nisbatan etarli emas, bu uning ko'rinishini chizishni osonlashtiradi.
AS plastmassa akrilonitril (A) va stirol (S) ning sopolimeridir. U o'rtacha ob-havoga chidamli va yuqori namlik muhitiga ta'sir qilmaydi. U umumiy yog'larga, yuvish vositalariga va engil spirtli ichimliklarga chidamli. U zaif charchoqqa chidamliligiga ega va oson emas U ichki stress tufayli yorilib ketadi va material yuqori shaffoflikka ega. Ko'pincha tovoqlar, suv stakanlari, idishlar, tish cho'tkalari, asboblar oynalari va qadoqlash qutilari kabi plastik mahsulotlarni tayyorlash uchun ishlatiladi.
Avtomatik plastik stakan termoformlash mashinasining qarshi kalıplaması, materialni eritish uchun barreldan tashqarida isitish halqasi bilan isitiladigan bunkerdan materialni barrelga qo'shish uchun plastmassaning termofizik xususiyatlaridan foydalanadi. Material asta-sekin plastiklashtiriladi, eritiladi va vintlardek kesishning ikki tomonlama harakati ostida bir hil holga keltiriladi. Vint aylanganda, material yiqilgan yivning ishqalanish kuchi va kesish kuchi ta'sirida eritilgan materialni vintning boshiga itaradi.
Shu bilan birga, vint materialning reaktsiyasi ostida orqaga chekinadi, shuning uchun vintning boshi saqlash joyini hosil qiladi va plastiklash jarayonini yakunlaydi. Keyin, in'ektsiya tsilindrining pistonining ta'siri ostida, vint yuqori tezlikda va yuqori bosimda nozul orqali saqlash kamerasiga erigan materialni AOK qiladi. Qolipning bo'shlig'ida, bo'shliqdagi eritilgan material bosim ostida ushlab turilgandan so'ng, sovutilgandan, qattiqlashgandan va shakllantirilgandan so'ng, qolip siqish mexanizmi ta'sirida qolipni ochadi va shakllangan mahsulot ejektor moslamasi orqali qolipdan chiqariladi.

Bu maqolaning oxiri, keyingi maqolada ko'proq savollar va tegishli javoblar keltirilgan.
TTF seriyali to'liq avtomatik termoformlash mashinasi bizning eng so'nggi ishlab chiqilgan asosiy mahsulotimizdir. Avtomatik plastik stakan termoformlash mashinasi shakllantirish, zımbalama, kesish va yig'ish jarayonini birlashtiradi. keng tarqalgan bo'lib foydalaniladigan va so'ralgan mijozlarning ko'pchiligiga mos keladi, u plastik tovoqlar, konteynerlar, qutilar, qopqoqlar va boshqalarni ishlab chiqarishi mumkin. Mashina to'liq servo vosita tomonidan boshqariladi. barqaror ishlash, past shovqin, yuqori samaradorlik, yuqori sifat.

SIEMENS (Germaniya) kompaniyasining sanoat qo'lda interfeysi va PLC yuqori darajadagi avtomatlashtirish, aniq boshqarish va qulay ishlashni ta'minlaydi. Hujjatlarni saqlash funksiyasi operatsion jarayonlarni soddalashtiradi.
Ish stantsiyalari barqaror to'rtta yo'naltiruvchi ustunli (GCr15 po'lat, tashqarisi qattiq xrom qoplangan) konstruktsiya bilan boshqariladi. Aşınmaya bardoshli va uskunaning ishlash muddatini uzaytiradi.
YASKAWA (Yaponiya) ning cho'zilgan servomotori yuqori va pastki qolipning tezligini nazorat qiladi, bu har bir stakanning pastki qalinligi bir xil bo'lishini ta'minlash uchun bir xil kuchni saqlab turishi mumkin. Va ser
Shlangi boshqariladigan tizim etarli harakat tezligini va kuchli zarba kuchini ta'minlaydi.
Butun qism ishonchli va barqaror bo'lgan gidravlik tizim tomonidan boshqariladi. ROCKWELL (AQSh) yaqinlik kalitidan foydalanish qolipni joylashtirishning mukammal aniqligiga olib keladi.
Isitgich tezda javob berish tezligini, qisqa ishlov berish vaqtini va energiyani tejashni ko'rsatadigan vakuumli izolyatsiyalash paxta qo'shdi.
Sharp zanjiri 65 # Mn dan foydalanadi, bu 45 # po'latdan ko'ra yuqori quvvat, issiqlikka chidamlilik va elastiklikka ega.
Elektr moylash moy pompasi uchuvchisiz boshqaruv sharoitida kompyuterni boshqarish orqali avtomatik ravishda soqol moyini muntazam va miqdoriy ravishda AOK qilishi mumkin, bu esa aylanishni amalga oshirishi mumkin.
Plitali oziqlantiruvchi servo motor Yaponiyada ishlab chiqarilgan YASKAWA brendini qabul qiladi, nominal quvvati 3Kw, oziqlantirish jarayonida barqaror ishlashni ta'minlaydi.
LITAI MACHINERY CO, LTD 2001-yilda tashkil etilgan. 20 yildan ortiq vaqt davomida bizning korxona vazifamiz avtomatik plastik qadoqlash mashinalarini ishlab chiqarishni amalga oshirishdir. Biz to'rt/uch stantsiyali termoformlash mashinasi, plastik stakan termoformlash mashinasi, BOPS plastik termoformlash mashinasi, muti-ayer PP/PS/PET varaq ekstruderi, qolip va boshqalarni tadqiq qilish, ishlab chiqish, ishlab chiqarish va sotishga e'tibor qaratamiz. avtomatik hisoblash va qadoqlash.
